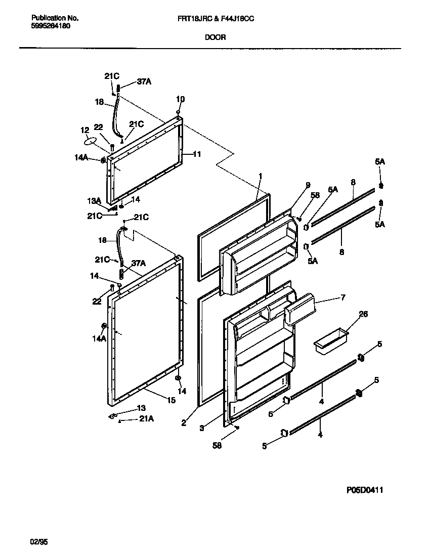
F44J18CCD0 02 – DOOR