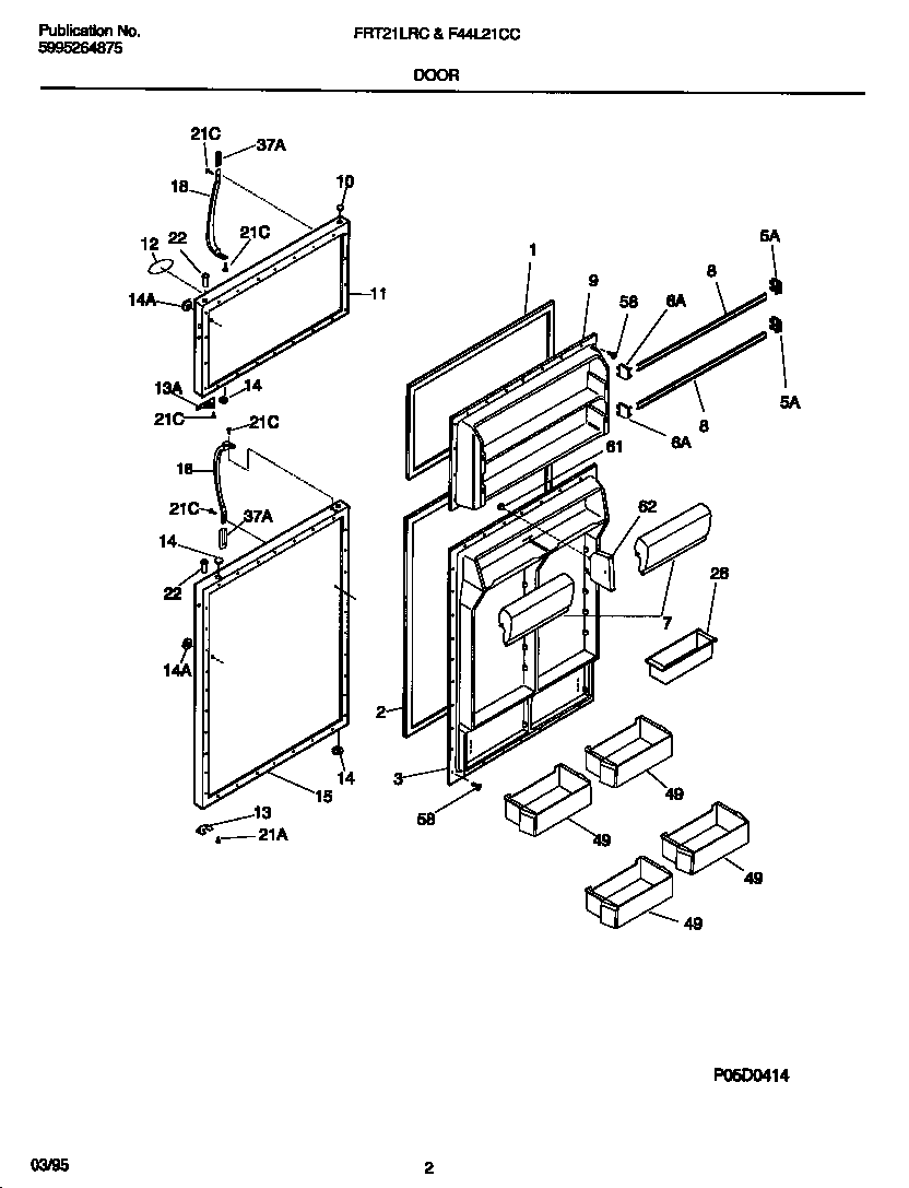
F44L21CCW0 02 – DOOR