| *85320 | WCI 215008616 |
| *85322 | WCI 218364001 |
| *85323 | INSULATION |
| *85321 | MAGNET-NAMEPLATE (NOT ILLUSTRATED) |
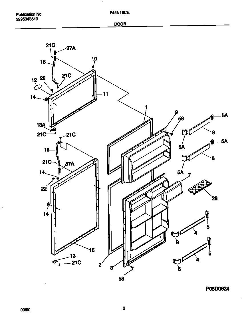
| 1 | WCI 215608916 |
| 2 | 5303207345 Frigidaire Refrigerator Door Gasket |
| 3 | WCI 218360001 |
| 5 | 218758602 Frigidaire Refrigerator Door Rack Support |
| 5 | 218809801 Frigidaire Refrigerator Support-Door Rack |
| 6 | 218809701 Frigidaire Refrigerator Door Rack Support |
| 7 | DOOR-DAIRY,10.71`` WIDE ,CLEAR |
| 8 | 215516220 Frigidaire Refrigerator Door Rack |
| 9 | WCI 218360101 |
| 10 | PLUG-BUTTON, WHITE, HINGE BRG HOLE |
| 11 | WCI 5303917805 |
| 12 | WCI 218425008 |
| 13 | WCI 218800300 |
| 13 | WCI 218249001 |
| 14 | 240494001 Frigidaire Refrigerator Plug Button |
| 15 | WCI 5303917806 |
| 18 | 218668001 Frigidaire Refrigerator P-1 Handle |
| 21 | 218252201 Frigidaire Refrigerator Screw |
| 22 | WCI 218519300 |
| 26 | 215817806 Frigidaire Refrigerator Egg Tray |
| 37 | WCI 215870619 |
| 58 | Screw,No.10 pan hd ,8-18 x .5 |