| *48400 | WCI 215940700 |
| *48402 | INSULATION |
| *48401 | WCI 215782300 |
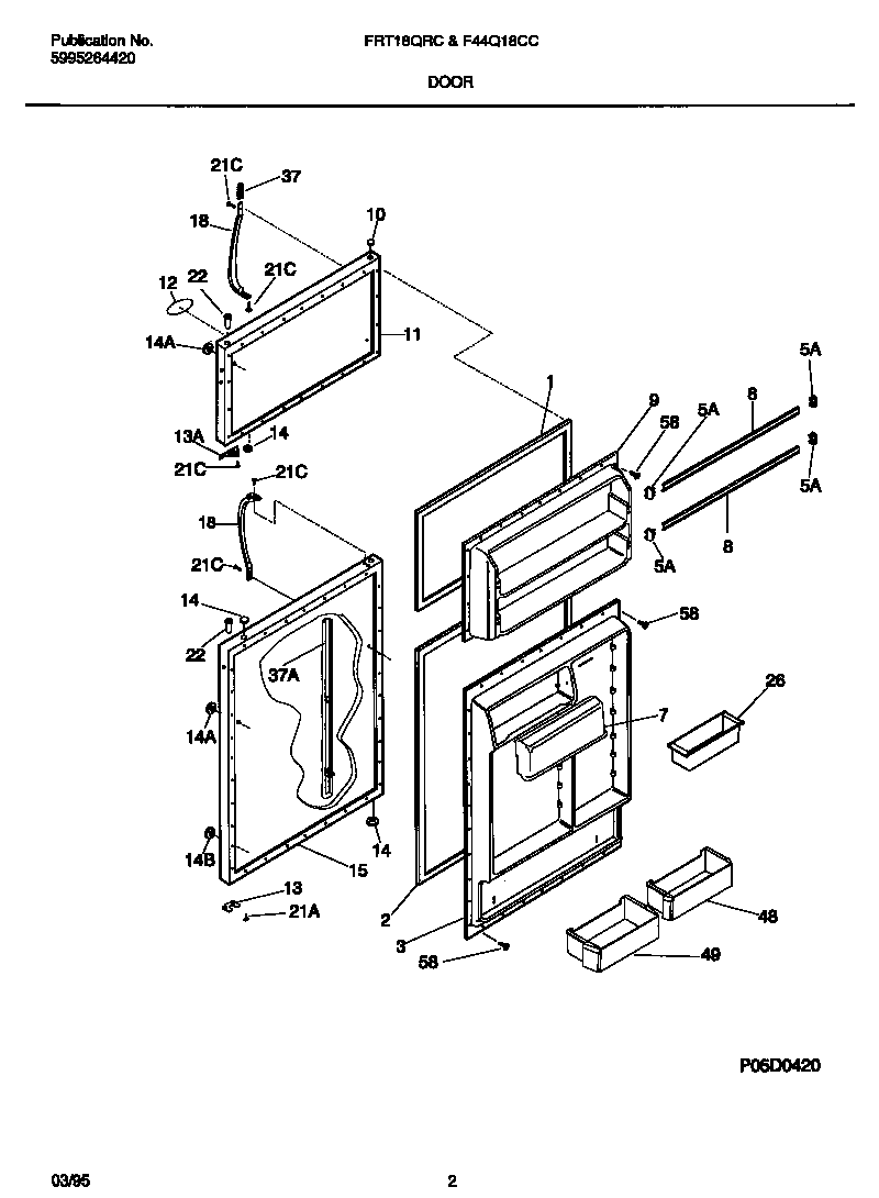
| 1 | WCI 215608906 |
| 2 | 5303207345 Frigidaire Refrigerator Door Gasket |
| 3 | WCI 218360701 |
| 5 | 218758602 Frigidaire Refrigerator Door Rack Support |
| 7 | WCI 5303308341 |
| 8 | 215516220 Frigidaire Refrigerator Door Rack |
| 9 | WCI 218360101 |
| 10 | PLUG-BUTTON, ALMOND, HINGE BRG HOLE |
| 11 | WCI 5303917584 |
| 12 | WCI 218364002 |
| 12 | MAGNET-NAMEPLATE (NOT ILLUSTRATED) |
| 12 | WCI 215008617 |
| 13 | WCI 5308000255 |
| 13 | WCI 218249002 |
| 14 | WCI 218074002 |
| 14 | PLUG-BUTTON, ALMOND, REFR DOOR FRONT, UPPER |
| 14 | PLUG-BUTTON, ALMOND, HANDLE/DR STOP |
| 15 | WCI 5303917588 |
| 18 | WCI 218363402 |
| 21 | 218252201 Frigidaire Refrigerator Screw |
| 21 | SCREW, NO. 8 OVAL HEAD, 10-32 (CA) X 5/8, CROSS RECESSED |
| 22 | BEARING-HINGE |
| 26 | WCI 3204522 |
| 37 | WCI 215867038 |
| 37 | WCI 215870608 |
| 48 | WCI 218439613 |
| 49 | 215441502 Frigidaire Refrigerator Door Bin |
| 58 | 5304455651 Frigidaire Refrigerator Screw |