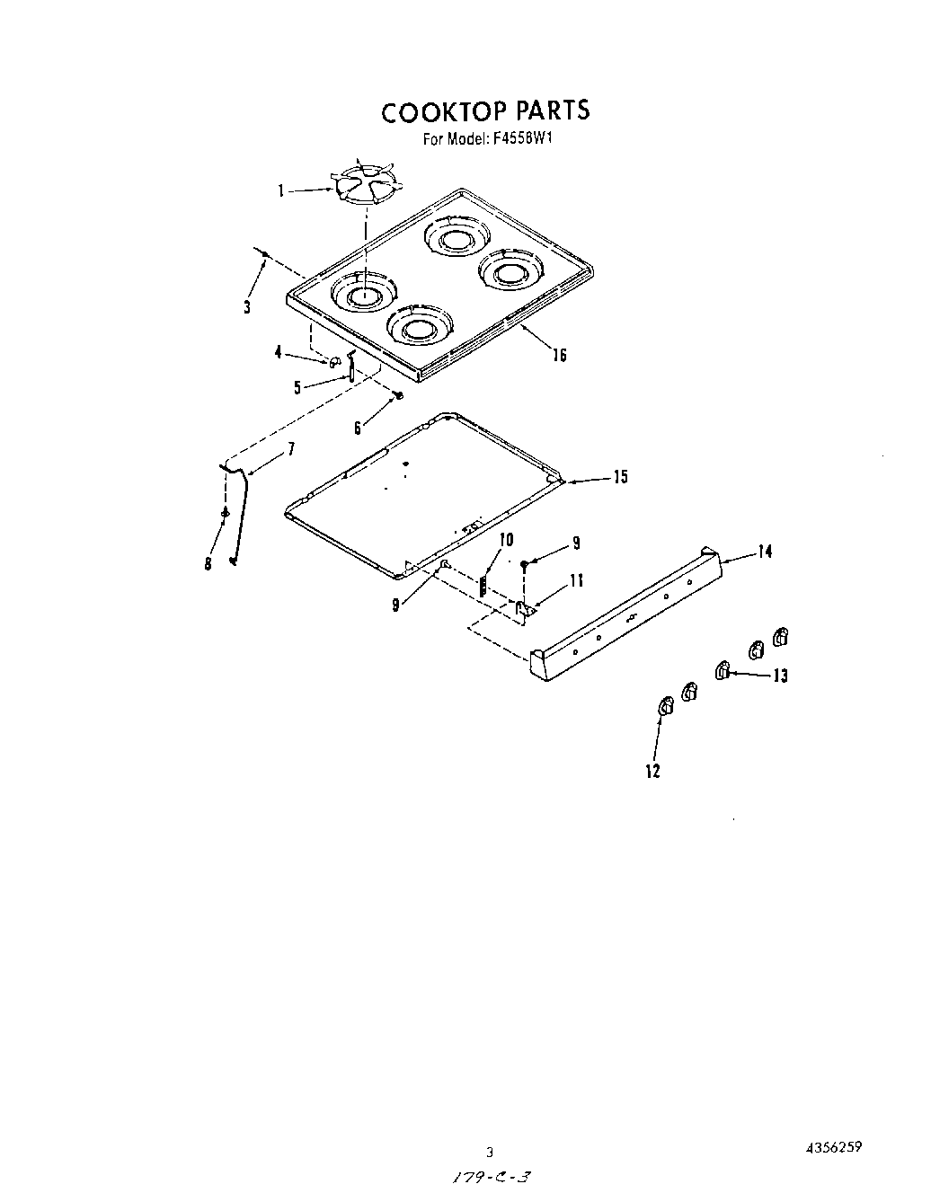
F4558X1 03 – COOKTOP