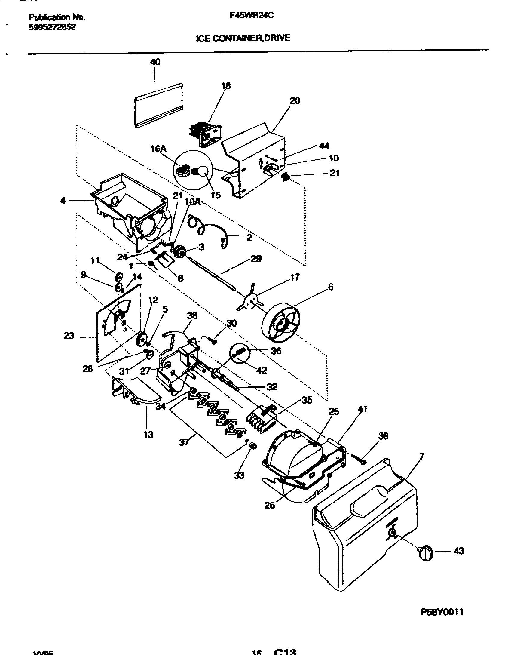
F45WR24CD1 17 – ICE CONTAINERadmin2025-04-26T08:51:37+00:00F45WR24CD1 17 – ICE CONTAINER ProductsPositionProductNIHARNESS-WIRING, AUGER MOTOR (NOT ILLUSTRATED)NIWCI 2157817001WCI 2155713002WCI 2182325003WCI 2182323004WCI 2182168004LABEL-ICE CONTAINER (NOT ILLUSTRATED)5WCI 2157481056WCI 2157528007WCI 2154216158WCI 2155712009WCI 21541970010241726501 Frigidaire Refrigerator Drive Bar10AWCI 21823280011WCI 21575520012WCI 21542040013WCI 21828520014WCI 21541990015316538904 Frigidaire Oven Lamp Light16A218906802 Frigidaire Light Lamp Socket17WCI 215754800185304462594 Frigidaire Refrigerator Motor-Auger20WCI 21528530123WCI 21575530023STUD (NOT ILLUSTRATED)23RING-RETAINER (NOT ILLUSTRATED)24WCI 21557140025WCI 21542140026215503203 Frigidaire Refrigerator Door Handle Screw27WCI 21574840028WCI 21575510029WCI 21575750130WCI 21575730031WCI 21575740032RING-SNAP (NOT ILLUSTRATED)32WCI 21574750133WCI 21574820034WCI 21574830035WCI 21575350036WCI 21575670037SPACER, (4) (NOT ILLUSTRATED)37WCI 21575610037BLADE-CRUSHER, NO. 1 (NOT ILLUSTRATED)37BLADE-CRUSHER, NO. 3 (NOT ILLUSTRATED)37BLADE-CRUSHER, NO. 2 (NOT ILLUSTRATED)37BLADE-CRUSHER, NO. 5 (NOT ILLUSTRATED)37SHAFT-CRUSHER (NOT ILLUSTRATED)37RING-SNAP (NOT ILLUSTRATED)37SPACER, (2) (NOT ILLUSTRATED)38WCI 21827010039WCI 21575700040WCI 21536300041WCI 21827020042WCI 21575600043WCI 21575500343SPRING-KNOB (NOT ILLUSTRATED)44WCI 21835920057BLADE-CRUSHER, NO. 4 (NOT ILLUSTRATED)