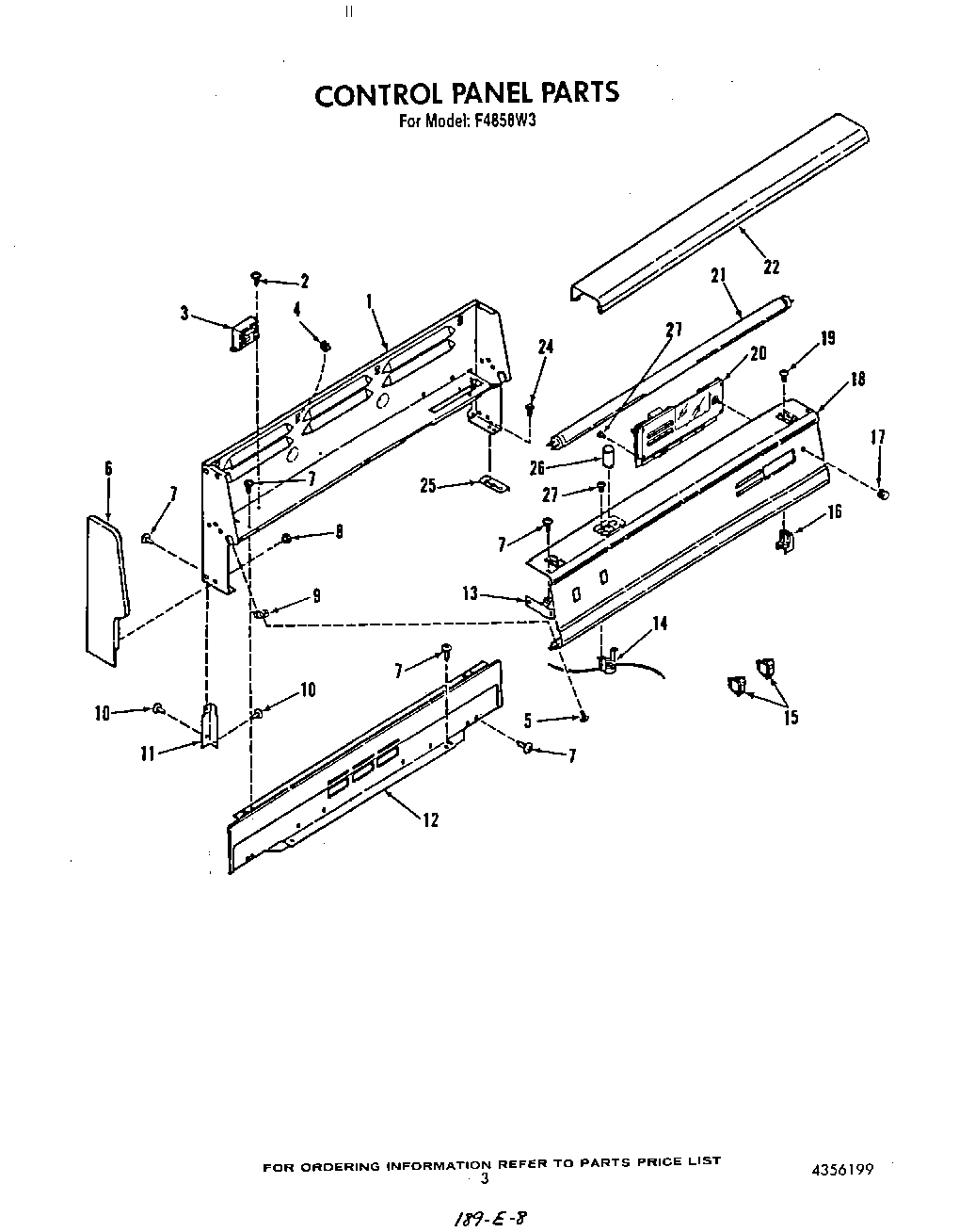
F4858W3 03 – CONTROL PANEL , LIT/OPTIONAL