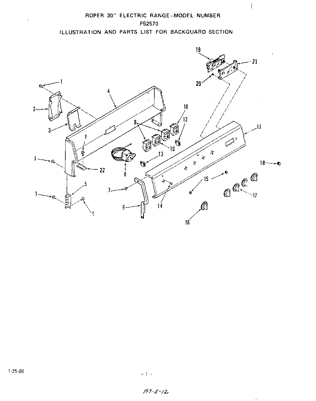
F5257^0 02 – BACKGUARD , LIT/OPTIONALadmin2025-04-26T11:54:41+00:00F5257^0 02 – BACKGUARD , LIT/OPTIONAL ProductsPositionProduct1Screw 10-16x7/16``2Wire Raceway3Raceway Cover4Backguard Body5Right6End Cap (Left)6End Cap (Right)7Screw 6-20x3/8``8Thermostat9Infinite Switch (Lt.Fr., Lt. Rr., Rt. Rr.)10Infinite Switch (Rt. Front)11Control Panel (White)11Control Panel (Almond)12Light-Indicator13Light-Indicator (Surface)14WPL 7856515Lens-Indicator Light16Thermostat Knob17Infinite Knob18Knob-Clock19Clock w/Lens20Screw 6-32x5/16``21Clock Lens22Body Side Cleat