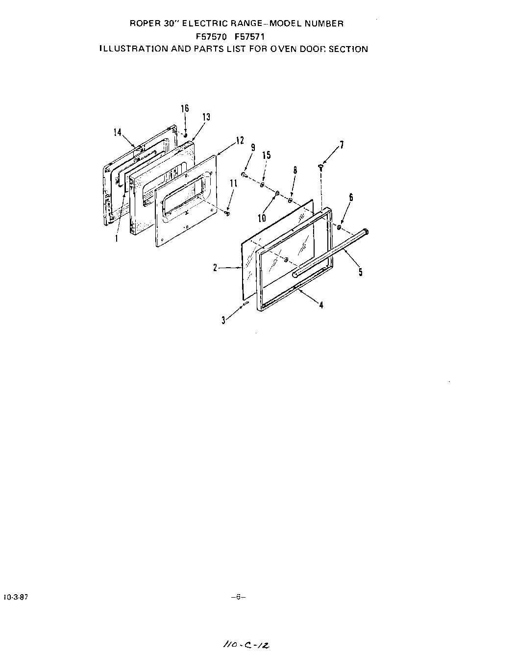
F5757W1 05 – WIRE HARNESSES AND COMPONENTSadmin2025-04-26T11:54:48+00:00F5757W1 05 – WIRE HARNESSES AND COMPONENTS ProductsPositionProduct1Glass-Inner Oven Door2Outer Glass3Cushion-Door Glass4Frame5Handle6Spacer7Screw8Washer9Screw 10-32x3/4``10Spacer-Glass11Screw 10 - 32x3/8``12Retainer13Insulation14Lining-Oven Door (14451A Models)15Washer16Washer-Felt