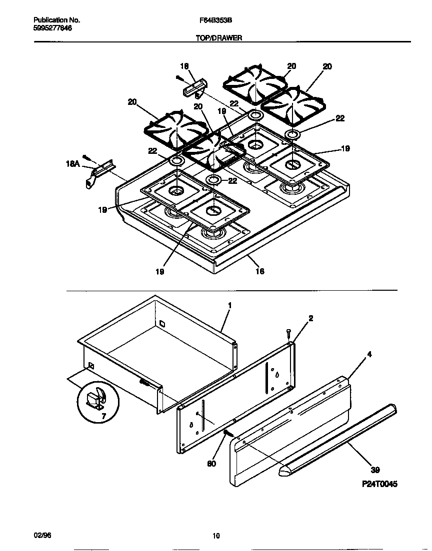
F64B353BWB 05 – TOP/DRAWERadmin2025-04-26T08:51:24+00:00F64B353BWB 05 – TOP/DRAWER ProductsPositionProduct*60163RIVET-POP, WARING-PLATE*601653131903 Frigidaire Door/Drawer Bumper*60164WCI 53032885741DRAWER-UTILITY2SHIELD-PNL4PANEL-BROILER, WHITE4SCREW, HEX WASHER HEAD, 8-18(AB) X 1/2 (NOT ILLUSTRATED)73051163 Frigidaire Oven Range Rear Broiler Drawer Glide16BGUSSET-MTG (LH) (NON-ILLUSTRATED)16AGUSSET-MTG (RH) (NON-ILLUSTRATED)16WCI 530330154618131243700 Frigidaire Screw18HINGE-MAIN TOP (RH)18HINGE-MAIN TOP (LH)19WCI 31601140120WCI 31602540022WCI 31601100139WCI 31602610060WCI 5303280308