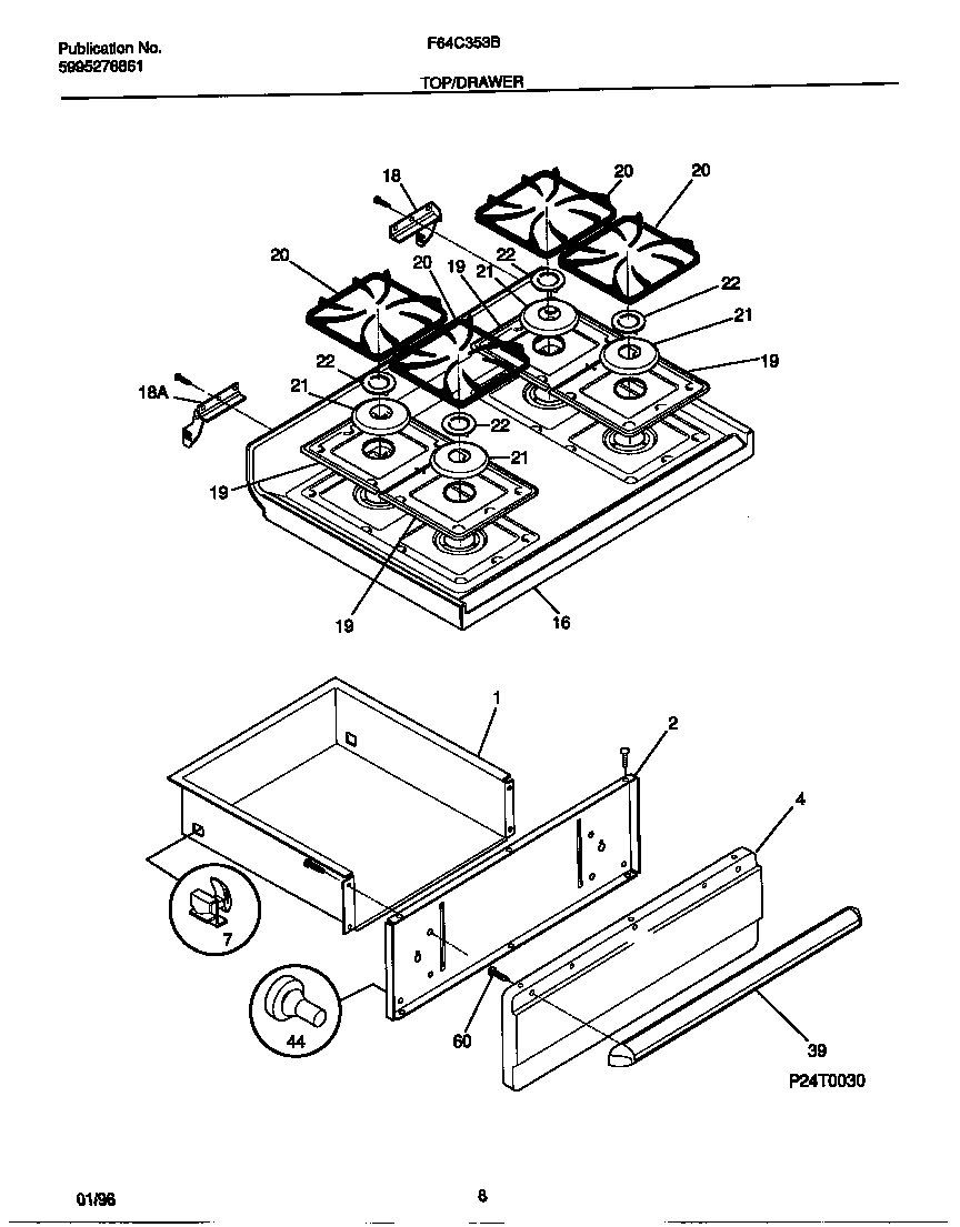
F64C353BSB 05 – TOP/DRAWERadmin2025-04-26T08:51:30+00:00F64C353BSB 05 – TOP/DRAWER ProductsPositionProduct*54685RIVET-POP, WARING-PLATE*54687131243700 Frigidaire Screw*54688WCI 5303288574*54686WCI 53032815841DRAWER-UTILITY2SHIELD-PNL4SCREW, HEX WASHER HEAD, 8-18(AB) X 1/2 (NOT ILLUSTRATED)4PANEL-BROILER, WHITE73051163 Frigidaire Oven Range Rear Broiler Drawer Glide16AGUSSET-MTG (RH) (NON-ILLUSTRATED)16BGUSSET-MTG (LH) (NON-ILLUSTRATED)16WCI 530330154618HINGE-MAIN TOP (LH)18HINGE-MAIN TOP (RH)19WCI 31601140020WCI 31602540121TRIM RING, BURNER, DARK GREY22CAP-BURNER, DARK GRAY, (4)39WCI 316026103443131903 Frigidaire Door/Drawer Bumper60WCI 5303280308