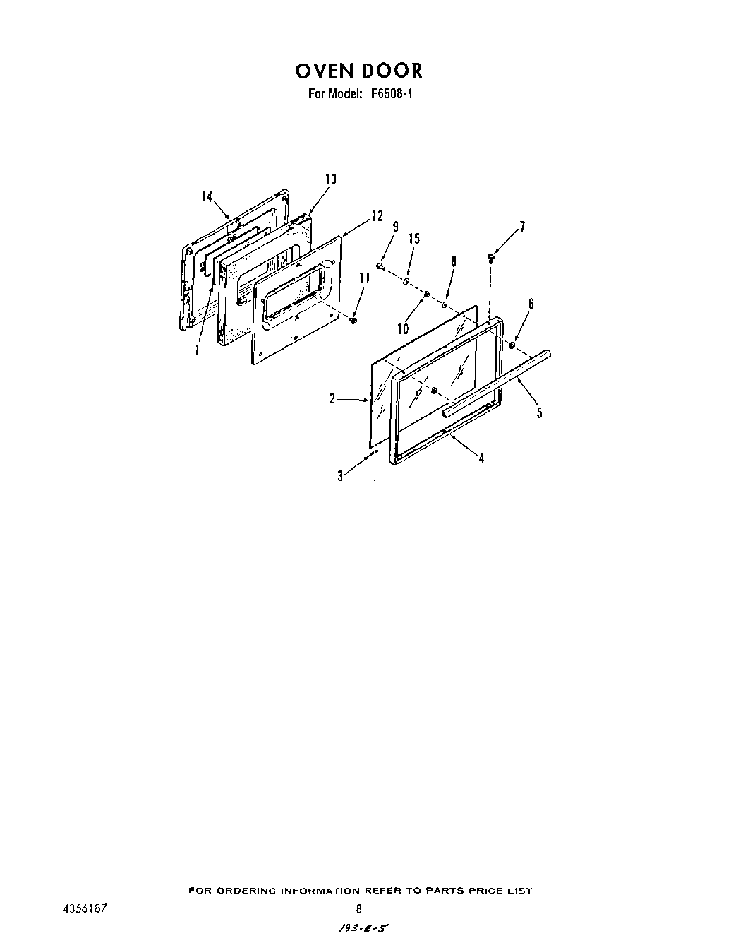
F6508W1 06 – OVEN DOORadmin2025-04-26T11:55:15+00:00F6508W1 06 – OVEN DOOR ProductsPositionProduct1Glass, Inner2Glass, Outer3Cushion4Frame5Handle6Spacer, Dr. Handle7Screw8Washer, Fiber9WP999367 Whirlpool Refrigerator Screw10Spacer, Glass Door11Screw, No.10-32x17/32``12Retainer13Insulation14Lining15Washer