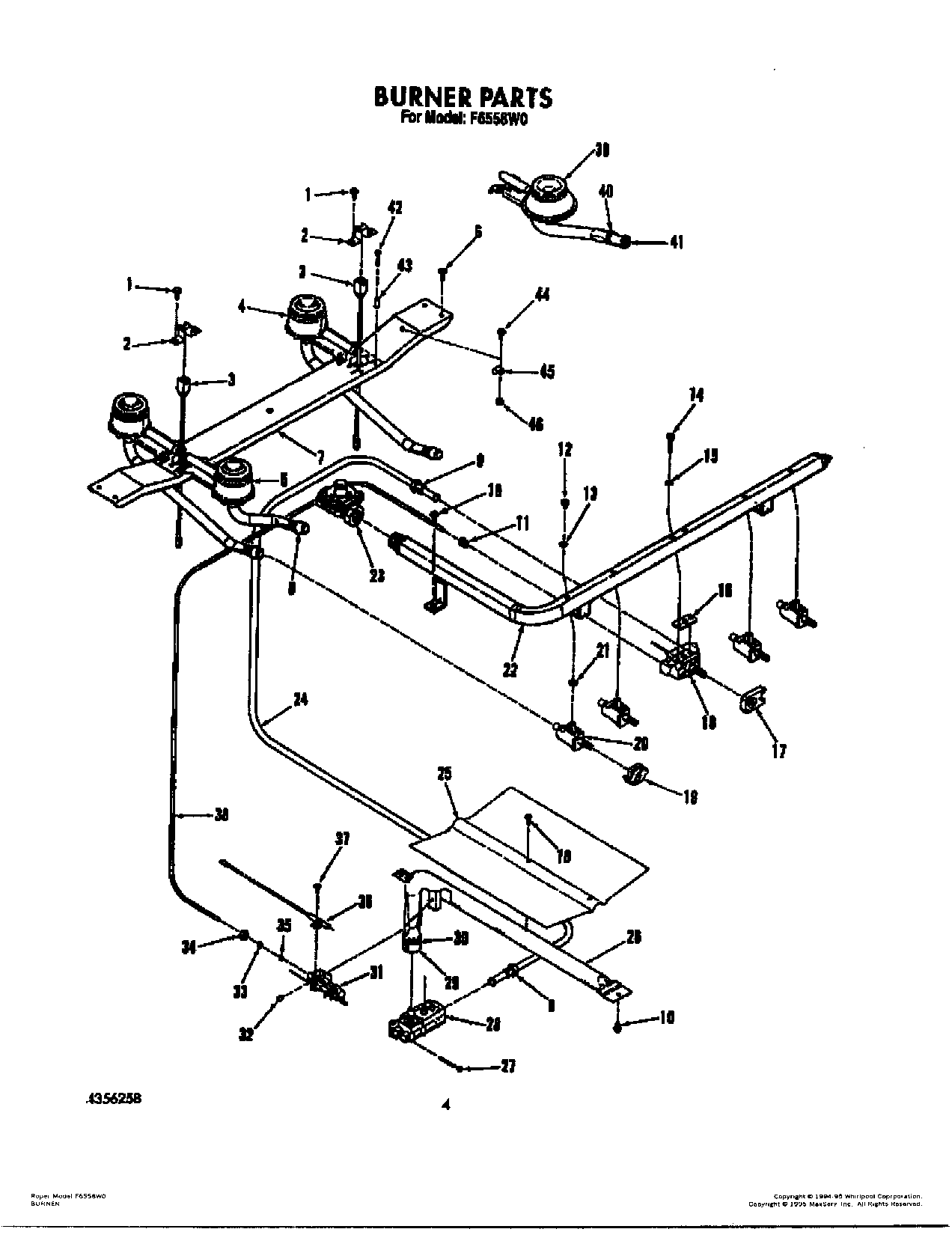
F6558L0 04 – BURNER