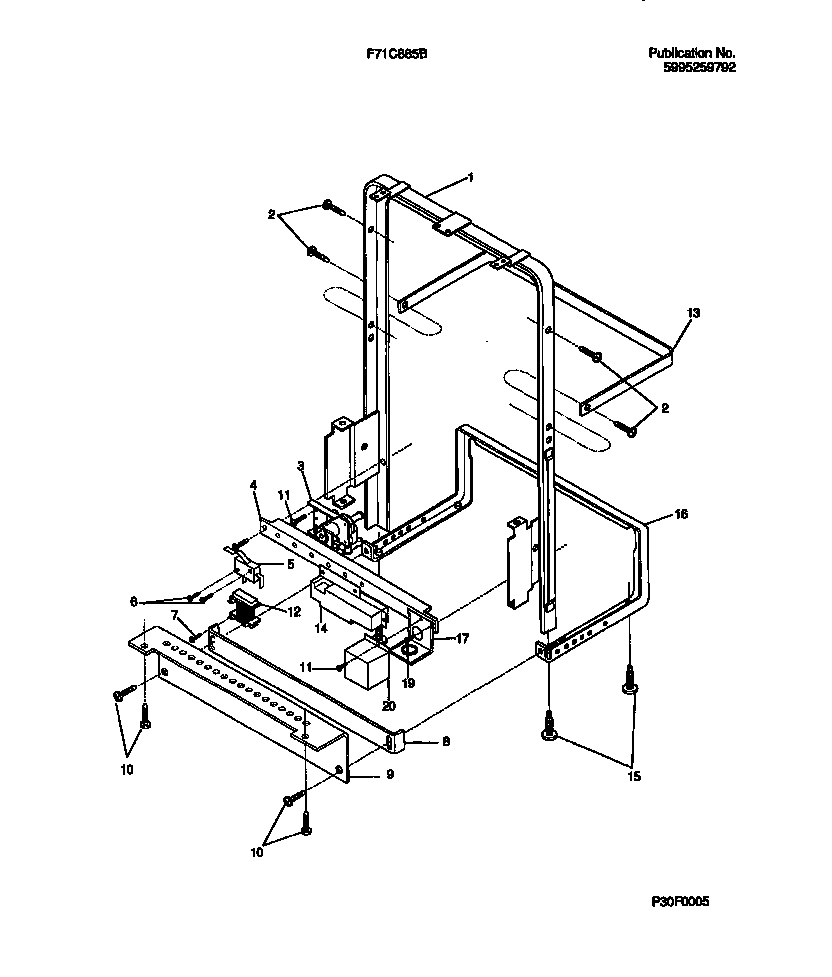
F71C885BB0 07 – FRAME DETAILSadmin2025-04-26T08:51:34+00:00F71C885BB0 07 – FRAME DETAILS ProductsPositionProduct1WCI 53008099722WCI 1540259013WCI 53032974204WCI 53032863685WCI 1541446016WCI 53008045947WCI 53008046728WCI 53008093039WCI 530080976510154419403 Frigidaire Dishwasher Screw11WCI 530080700412WCI 15419270113WCI 15414550114POWER RELAY ASSEMBLY15LEVELER(4)16WCI 530321118117WCI 15411290117A5300807373 Frigidaire WASHER19WCI 530080795120WCI 154128301