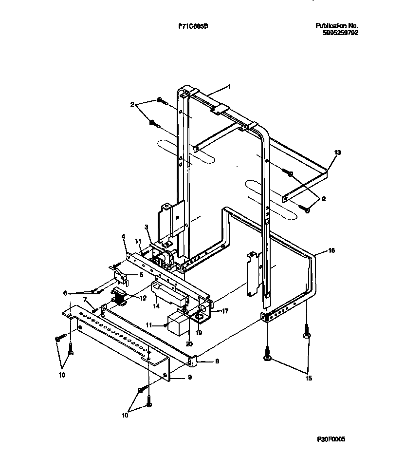
F71C885BT0 07 – FRAME DETAILS