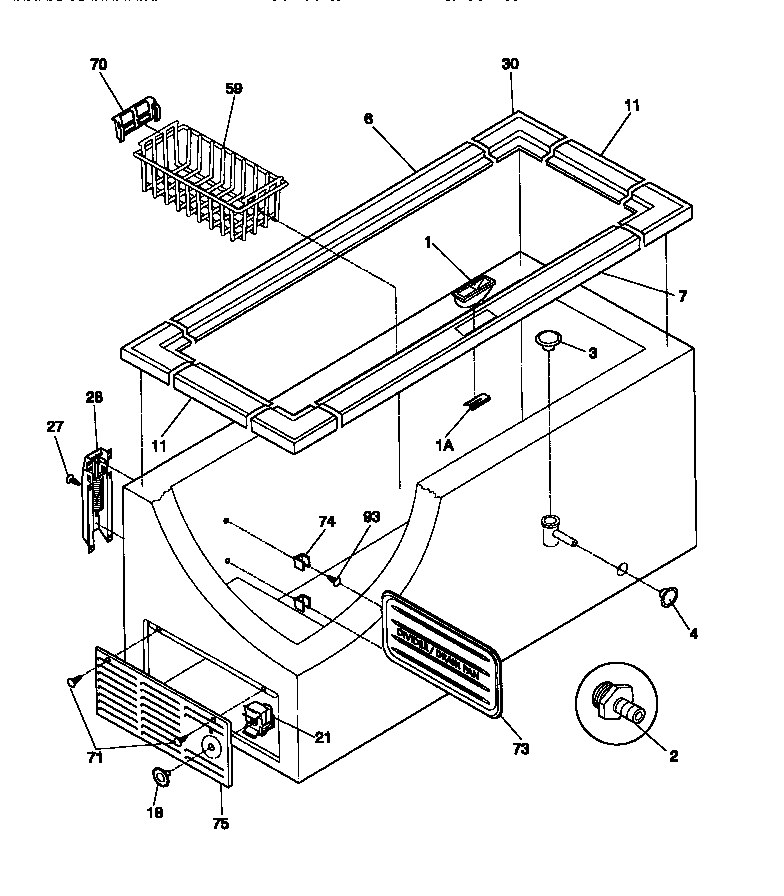
F81M207CW2 03 – CABINET/CONTROL/SHELVESadmin2025-04-26T08:51:25+00:00F81M207CW2 03 – CABINET/CONTROL/SHELVES ProductsPositionProduct*047615303321319 Frigidaire Refrigerator White Touch Up Paint1WCI 2160808001LATCH, DOOR2WCI 2162695004WCI 2160739006WCI 2161112007WCI 21611180011Breaker,white ,ends18WCI 21603450521WCI 21616120027WCI 530995060228297322000 Frigidaire Refrigerator Hinge Assembly30Breaker,white ,corners59WCI 21608060070WCI 21637510071216036601 Frigidaire Refrigerator Screw73WCI 21612820074WCI 530659458475WCI 21603430193216858001 Frigidaire Refrigerator Screw