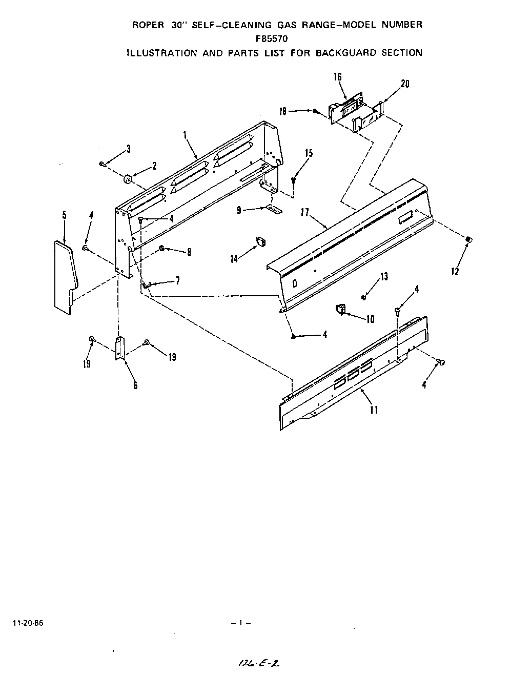
F8557^0 02 – MAIN TOPadmin2025-04-26T11:54:13+00:00F8557^0 02 – MAIN TOP ProductsPositionProduct1Backguard Body2Bumper3Screw 10-32x3/4``4Screw 10ABx1/2``5Left5Right5End Cap6Backguard Support6Right6Left7Backguard Clip8Pal Nut9Body Side Cleat10Switch-Oven Light11Backguard Lower Front Panel12Clock Knob13Lens-Indicator Light14Light-Indicator15Screw 10 - 32 x 7/16``16Clock17Control Panel18Screw 6-32x1/2``19Screw 10-16x7/16``20Clock Lens