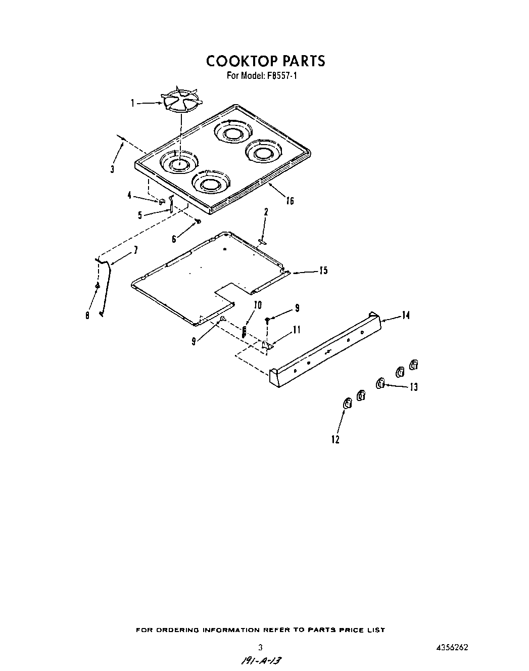
F8557^1 03 – COOK TOP