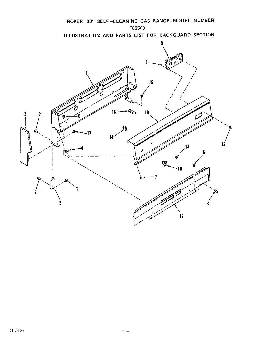
F8558W0 02 – BACK GUARDadmin2025-04-26T11:55:02+00:00F8558W0 02 – BACK GUARD ProductsPositionProductClock Lens1Backguard Body2Screw 10-16x7/16``3End Cap3Left3Right4Backguard Clip5Backguard Support5Left5Right6Screw 10ABx1/2``7Screw 10-16x1/2``8Screw 6-32x5/16``9Clock w/Lens10Switch-Oven Light11Backguard Lower Front Panel12Clock Knob13Lens-Indicator Light14Light-Indicator15Screw 10 - 32 x 7/16``16Body Side Cleat17Pal Nut18Control Panel