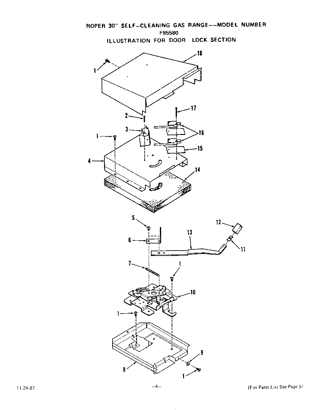
| 1 | Screw 10-16x7/16`` |
| 2 | Screw 4-40x11/16`` |
| 3 | Micro Switch |
| 4 | Cover-Lock Box |
| 5 | Screw 10-24x1/4`` |
| 6 | Extension-Handle |
| 7 | Spring |
| 8 | Lock Box |
| 9 | WPL 21067 |
| 10 | Latch Assm. (Inc`s. Key 7) |
| 11 | Clip-Knob |
| 12 | Knob-Lock |
| 13 | Handle-Latch |
| 14 | Insulation-Latch |
| 15 | Insulator-Switch (3 Req) |
| 16 | Micro Switch |
| 17 | Screw 4-40 x1 9/16`` |
| 18 | Wire Cover-Latch Switches |