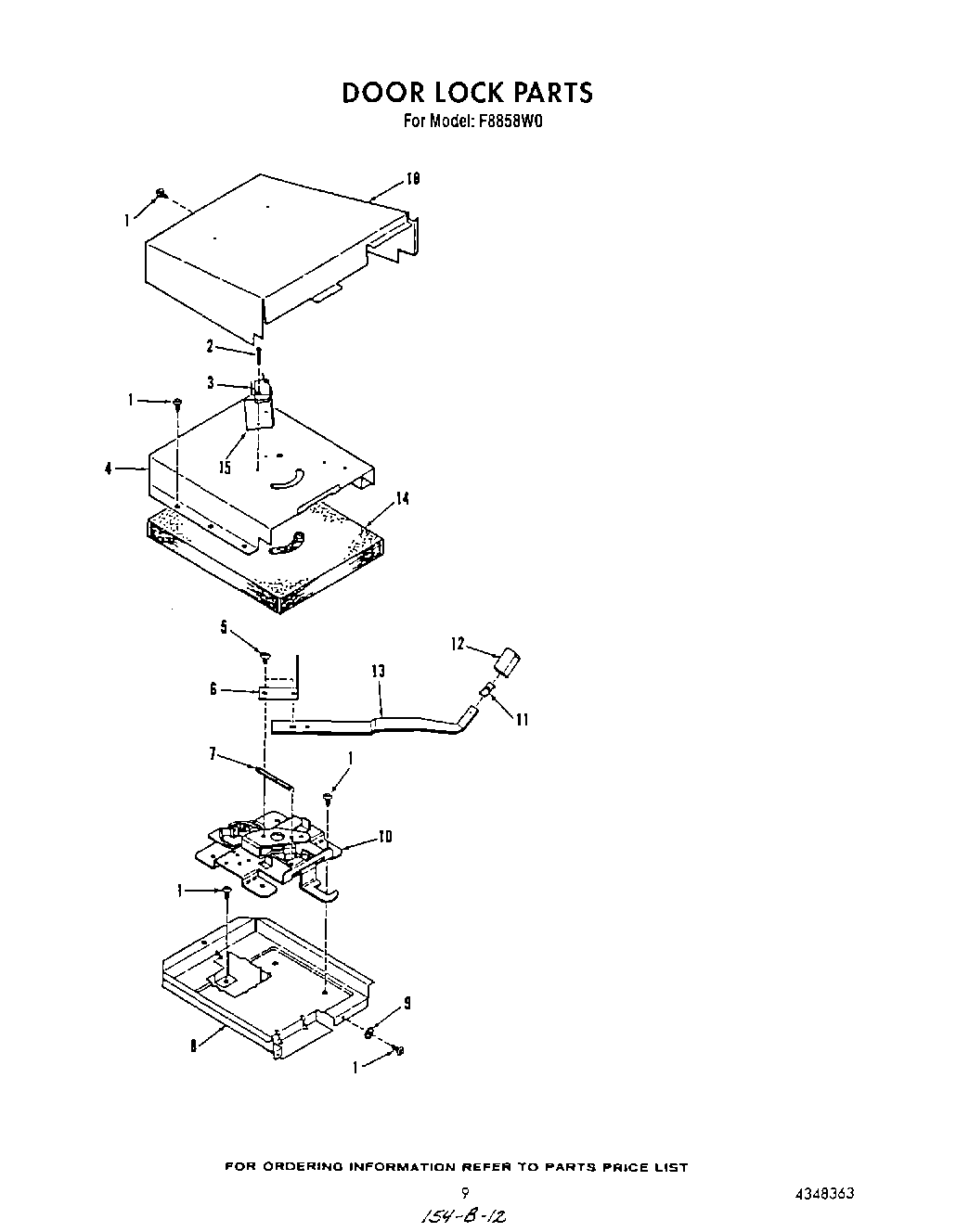
F8858^0 07 – DOOR LOCKadmin2025-04-26T11:54:06+00:00F8858^0 07 – DOOR LOCK ProductsPositionProduct1SCREW2Screw No.4-40x11/163Switch, Micro4Cover, Lock Box5Screw, No.10-24 x 1/46Extension, Handle7Spring8Box, Lock9Washer10Latch Assembly (Inc`s No.7)11Clip12Knob, Lock13Handle, Latch14Insulation15Insulator18Cover, Wire