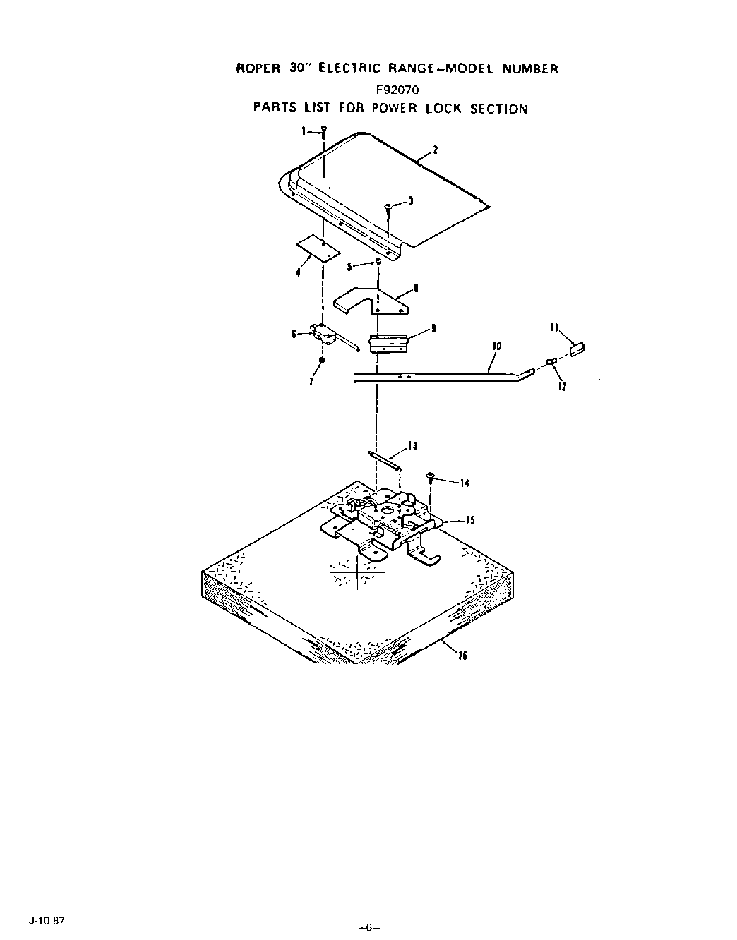
F9207W0 05 – OVEN DOORadmin2025-04-26T11:54:06+00:00F9207W0 05 – OVEN DOOR ProductsPositionProduct1Screw 4-40 x 11/16``2Cover-Lock3Screw4Insulator-Switch (3 Req)5WPL 974116Micro Switch7Keps Nut 4-408Switch Lever9Retainer-Latch Handle10Handle-Latch11Knob-Lock12Clip-Knob13Spring14Screw 10-16x7/16``15Latch Asm.16Insulation-Lock