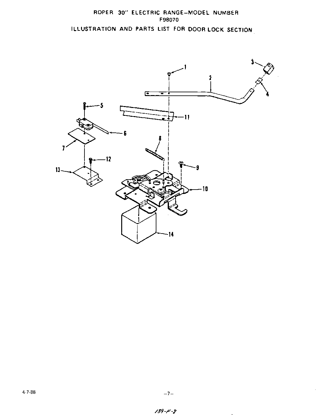
F9807W0 05 – OVEN DOORadmin2025-04-26T11:34:27+00:00F9807W0 05 – OVEN DOOR ProductsPositionProduct1Screw 10-24x1/4``2Latch Handle3Knob-Lock4Clip-Knob5Screw 4-40x11/16``6Micro Switch7Switch Insulator8Spring9Screw 10-16x7/16``10Latch Asm.11Switch Lever12Screw13Switch Bracket14Insulation Retainer