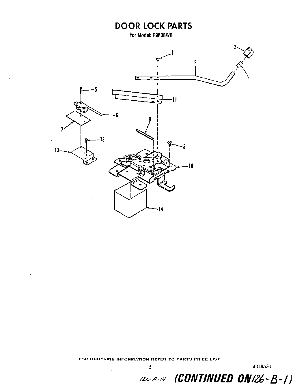
F9808B0 04 – DOOR LOCKadmin2025-04-26T11:34:47+00:00F9808B0 04 – DOOR LOCK ProductsPositionProduct1Screw, No.10-24 x 1/42Handle, Latch3Knob, Lock4Clip5Screw No.4-40x11/166Switch, Door Lock7Insulator, Switch8Spring9SCREW10Latch Assembly11Lever, Switch12Screw13Bracket, Switch14Retainer, Insulation