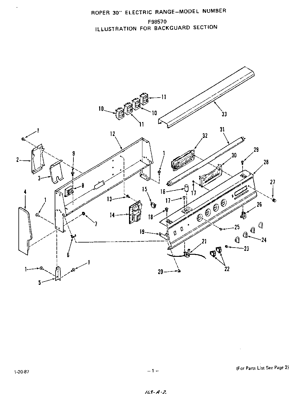
F9857W0 02 – BACKGUARD