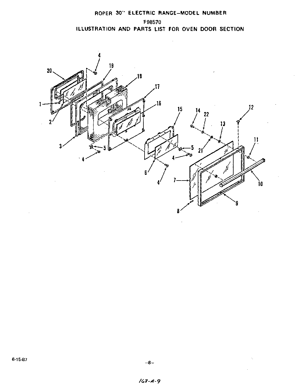
| 1 | Seal-Inner Glass |
| 2 | Inner Door Glass |
| 3 | Lining-Oven Door |
| 4 | Screw 10-16x7/16`` |
| 5 | Retainer-Door Glass |
| 6 | Intermediate Glass-Oven Door |
| 7 | Outer Glass |
| 8 | Cushion-Door Glass |
| 9 | Oven Door Frame |
| 10 | Handle |
| 11 | Spacer |
| 12 | Screw |
| 13 | Washer |
| 14 | Screw 10-32x3/4`` |
| 15 | Mounting Plate-Glass |
| 16 | Center Door Glass |
| 17 | Retainer-Oven Door Insulation |
| 18 | Insulation |
| 19 | Gasket-Oven Door |
| 20 | Plug-Oven Door Lining |
| 21 | Spacer-Glass |
| 22 | Washer |