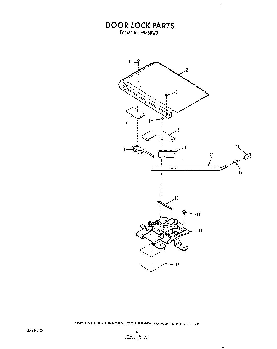
F9858^0 05 – DOOR LOCKadmin2025-04-26T11:36:09+00:00F9858^0 05 – DOOR LOCK ProductsPositionProduct1Screw, No.4-40 x 11/162Cover, Lock3Screw4Insulator5WPL 43236366Switch, Door Lock8Lever, Switch9Retainer, Handle10Handle, Latch11Knob, Lock12Clip13Spring14SCREW15Latch Assembly16Flag Terminal16Eyelet Terminal16Wire Harness (3/16``)16WP285432 Whirlpool Terminal16BURNER RECEPTACLE KIT16Retainer, Insulation16Clock/Oven Control