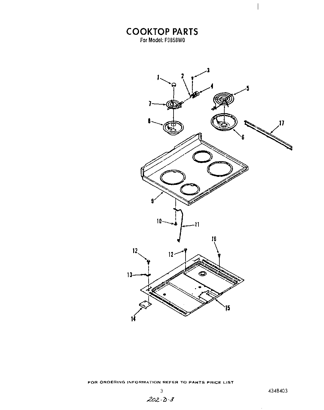
F9858L0 03 – COOK TOP