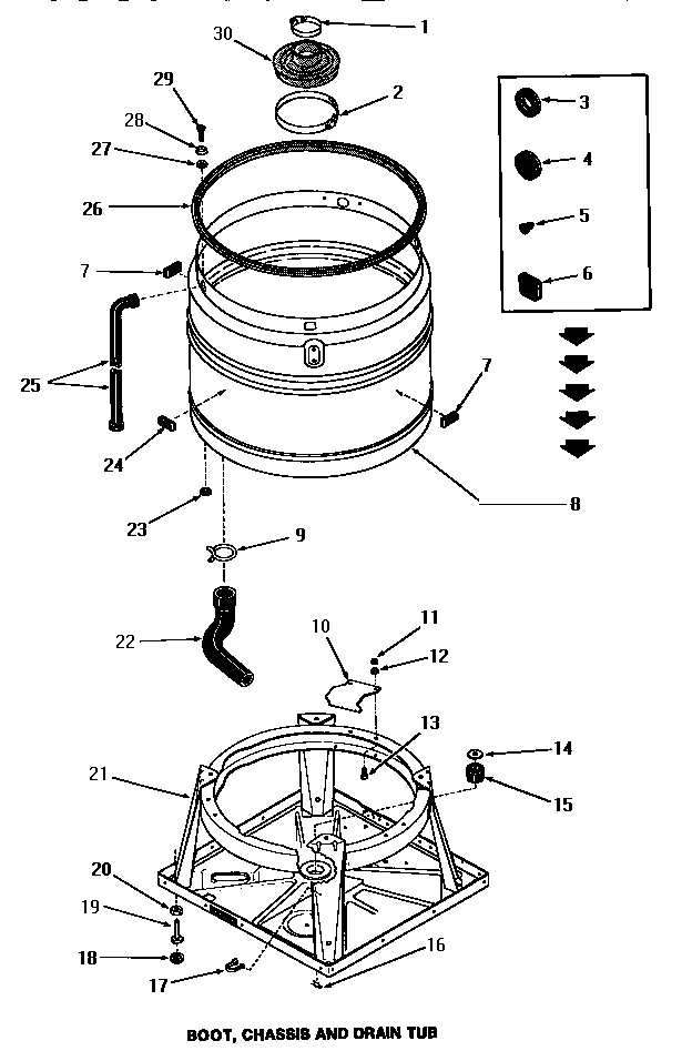
FA0660 06 – BOOT, CHASSIS & DRAIN TUB