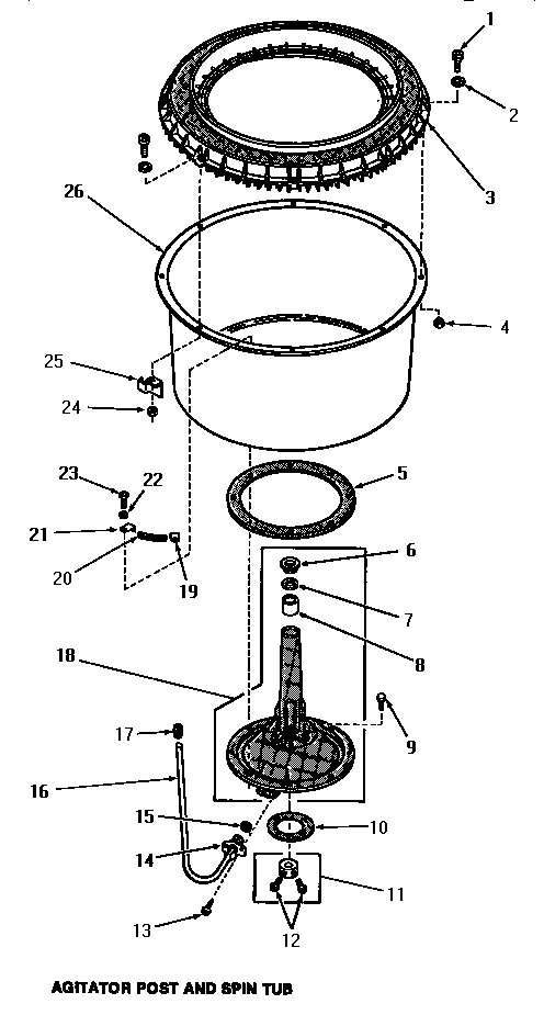
FA2001 03 – AGITATOR POST & SPIN TUB