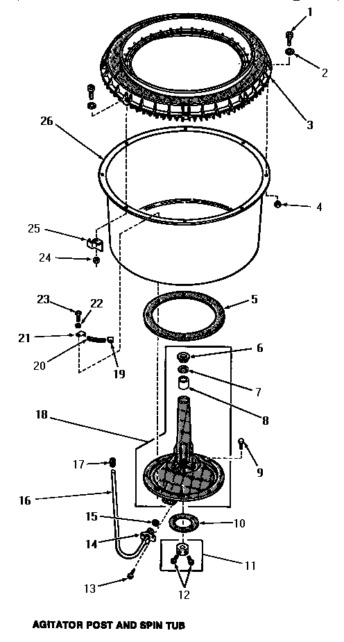
FA2130 03 – AGITATOR POST & SPIN TUB