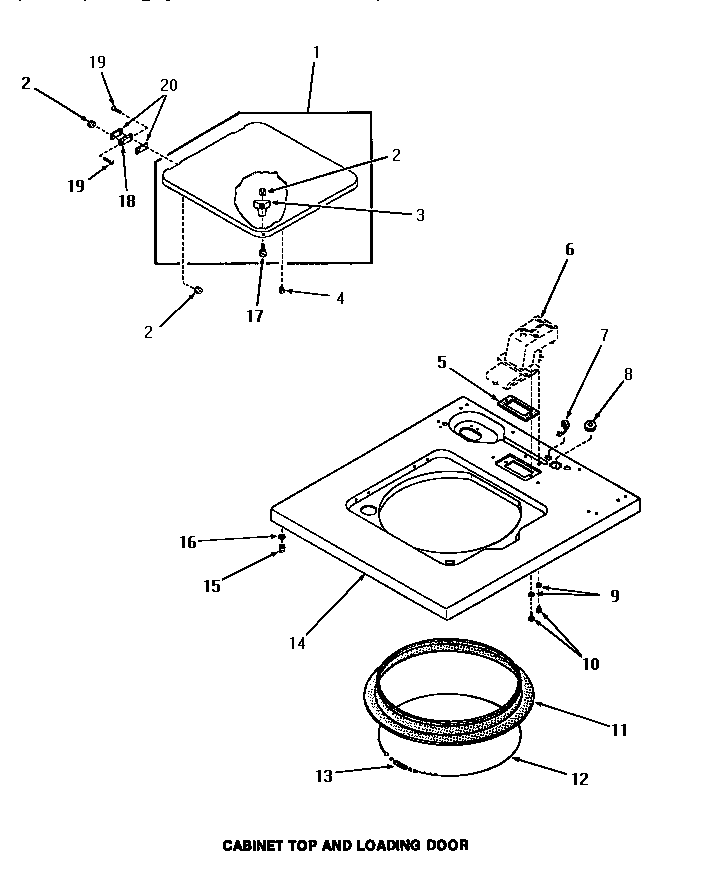
FA2130 07 – CABINET TOP & LOADING DOOR