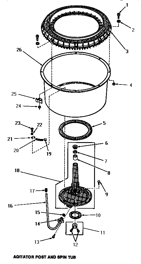
FA2950 03 – AGITATOR POST & SPIN TUB