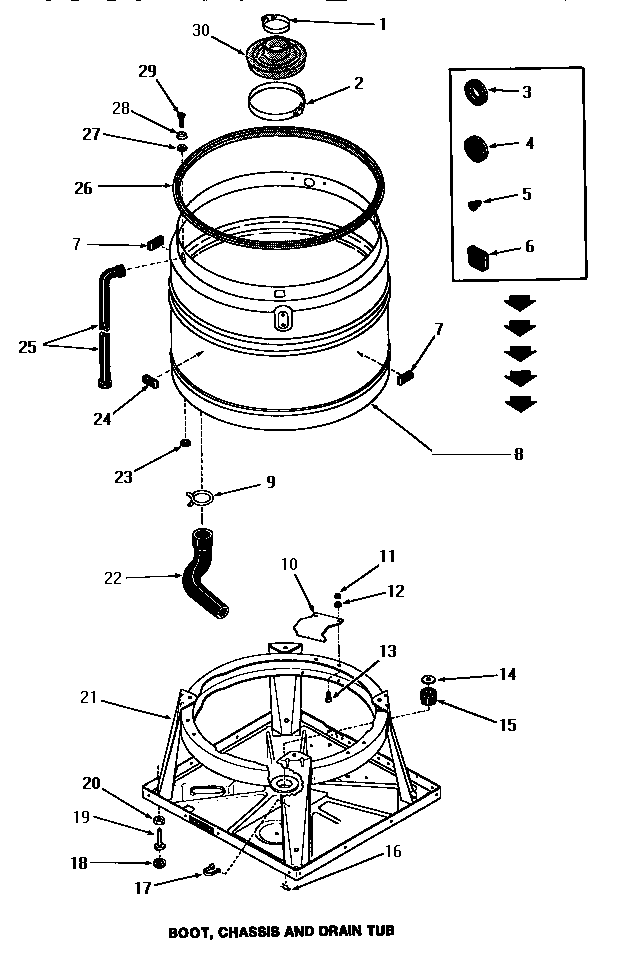
FA2950 06 – BOOT, CHASSIS & DRAIN TUB