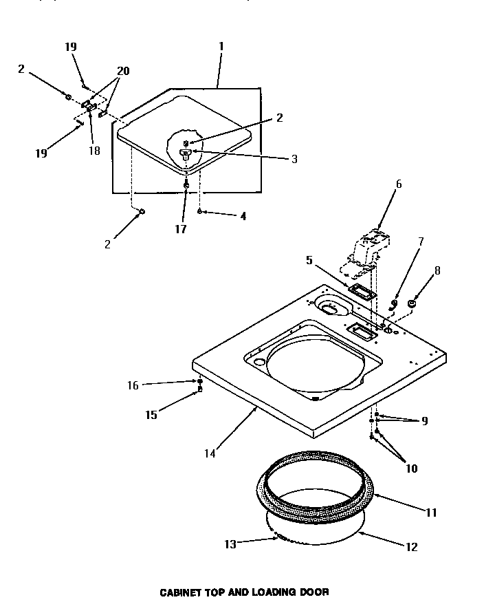
FA2960 07 – CABINET TOP & LOADING DOORadmin2025-04-26T09:30:09+00:00FA2960 07 – CABINET TOP & LOADING DOOR ProductsPositionProduct1MAY 26901H1MAY 26901W1MAY 26901L1MAY 26901A1MAY 26901K1MAY 26901C2MAY 217523MAY 252174MAY 211765MAY 232556SEE NOTE GROUND WIRE, GREEN7MAY 219038MAY 201189MAY 2049310MAY 5546911MAY 2527712MAY 2235213MAY 2079114MAY 26819A14MAY 26819K14MAY 26819C14MAY 26819L14MAY 26819H14MAY 26819W15MAY 2300716MAY 2486117MAY 2676918MAY 2158319MAY 2264920MAY 21584