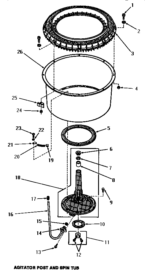
FA2961 03 – AGITATOR POST & SPIN TUB