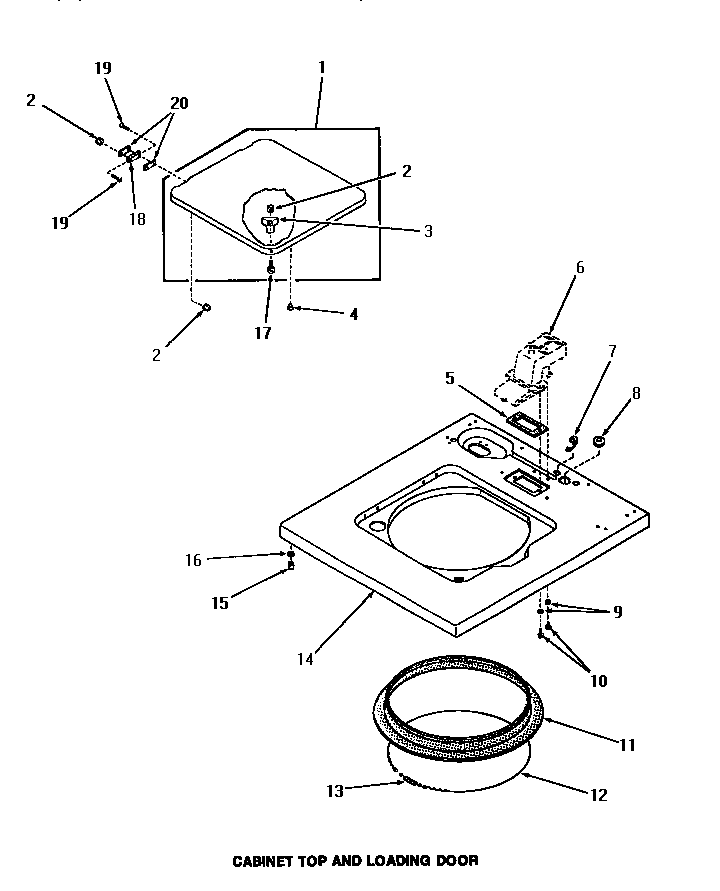
FA2961 07 – CABINET TOP & LOADING DOOR