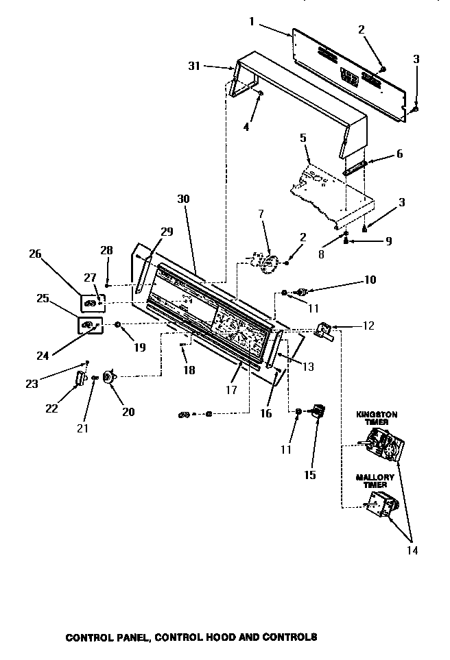
FA3050 09 – CONTROL PANEL, CONTROL HOOD & CONTROLSadmin2025-04-26T09:31:22+00:00FA3050 09 – CONTROL PANEL, CONTROL HOOD & CONTROLS ProductsPositionProduct1MAY 22890GR2WP3177991 Whirlpool Screw3MAY 257244MAY 540386MAY 230287SEE NOTE GROUND WIRE, GREEN8MAY 204939MAY 5215010MAY 2130011MAY 9117612MAY 2695213MAY 2507314MAY 2641015MAY 2130216MAY 5286417MAY 2507118MAY 2027219MAY 2420520MAY 2632621MAY 2631922MAY 2632123MAY 2631825MAY 2429127MAY 2339228MAY 2523229MAY 2507230MAY 2609931MAY 22881A31MAY 22881W31MAY 22881L31MAY 22881H