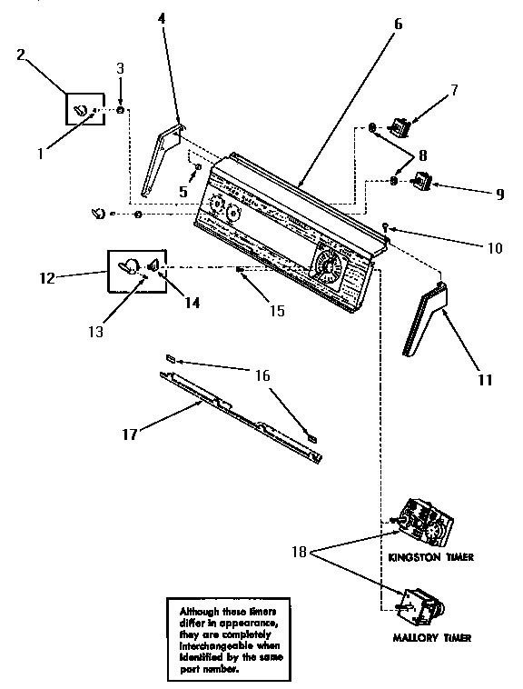
FA3080 12 – CONTROL PANEL, CONTROL HOOD & CONTROLSadmin2025-04-26T09:30:56+00:00FA3080 12 – CONTROL PANEL, CONTROL HOOD & CONTROLS ProductsPositionProduct1MAY 222442MAY 222453MAY 242054MAY 251245MAY 251266MAY 248467MAY 243928MAY 911769MAY 2130210MAY 2523211MAY 2512312MAY 2485813MAY 2528514MAY 2485715MAY 7021216MAY 2485917SEE NOTE GROUND WIRE, GREEN18MAY 24828