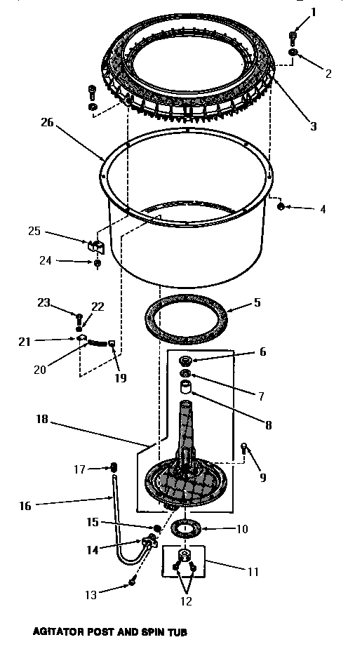
FA3591 03 – AGITATOR POST & SPIN TUB