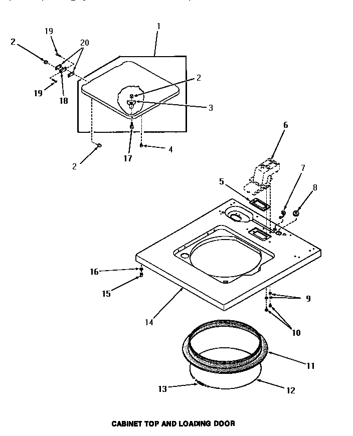
FA4100 07 – CABINET TOP & LOADING DOOR