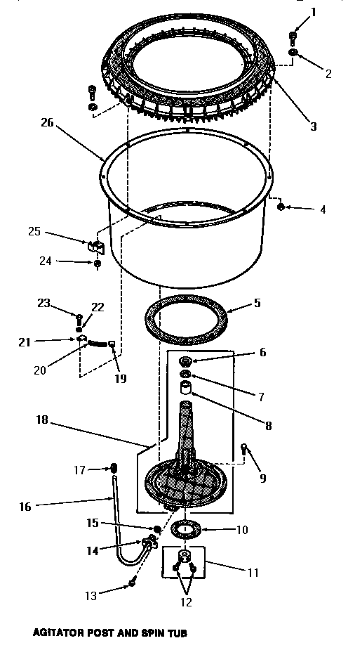
FA4111 03 – AGITATOR POST & SPIN TUBadmin2025-04-26T09:29:27+00:00FA4111 03 – AGITATOR POST & SPIN TUB ProductsPositionProductNIMAY 243P31MAY 252512MAY 251003MAY 249314MAY 252505MAY 224496MAY 236857MAY 236848MAY 236869MAY 2026110MAY 2012011MAY 2037712MAY 2348113MAY 2085214MAY 2604615MAY 2011016MAY 2598017MAY 2236118MAY 2601619MAY 2244620MAY 2214421MAY 2244722MAY 2012123MAY 2026024MAY 2667825MAY 2202526MAY 25976