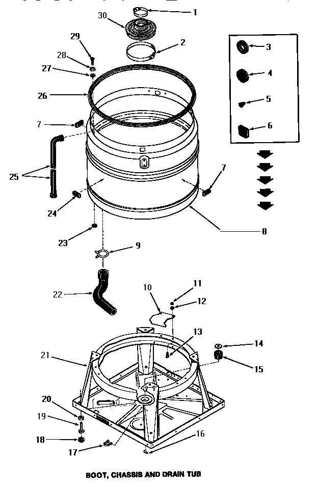
FA4300 06 – BOOT, CHASSIS & DRAIN TUB