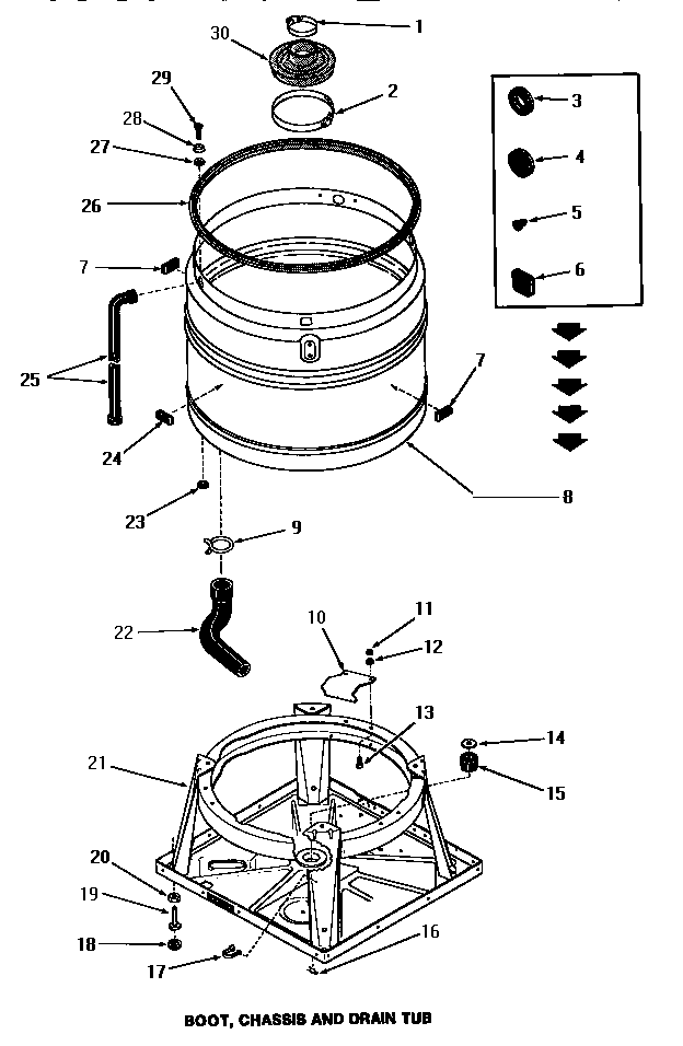
FA4310 06 – BOOT, CHASSIS & DRAIN TUBadmin2025-04-26T09:27:54+00:00FA4310 06 – BOOT, CHASSIS & DRAIN TUB ProductsPositionProduct1MAY 201072MAY 201083MAY 201184MAY 203055MAY 213936MAY 216517MAY 232588MAY 26034M9MAY 1010810MAY 2190511MAY 2027512MAY 0318913MAY 0242214MAY 2016215MAY 2019516MAY 2601217MAY 2283718MAY 2174919MAY 2040920MAY Y2189921MAY 2602822MAY 2511223MAY 2011524MAY 2325725MAY 2281826MAY 2123327MAY 2011228MAY 2011129MAY 2025930MAY 20129