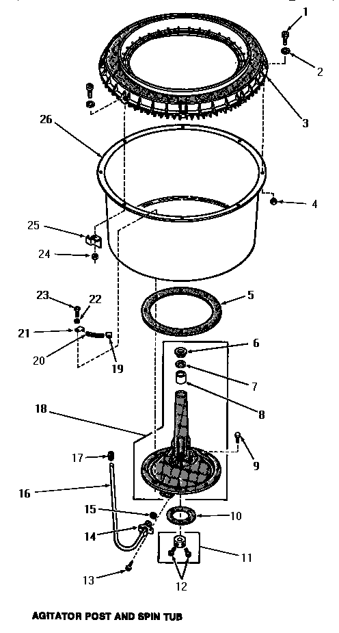
FA4311 03 – AGITATOR POST & SPIN TUB