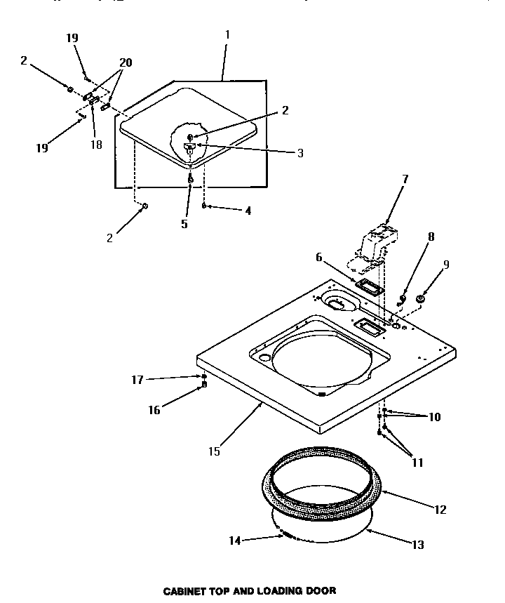
FA6011 07 – CABINET TOP & LOADING DOORadmin2025-04-26T09:28:13+00:00FA6011 07 – CABINET TOP & LOADING DOOR ProductsPositionProduct1MAY 26901H1MAY 26901W1MAY 26901L1MAY 26901A1MAY 26901K1MAY 26901C2MAY 217523MAY 252174MAY 211765MAY 267696MAY 232557SEE NOTE GROUND WIRE, GREEN8MAY 219039MAY 2011810MAY 2049311MAY 5546912MAY 2527713MAY 2235214MAY 2079115MAY 26819L15MAY 26819K15MAY 26819W15MAY 26819H15MAY 26819A15MAY 26819C16MAY 2300717MAY 2486118MAY 2158319MAY 2264920MAY 21584