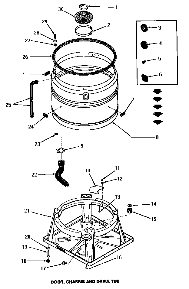
FA6022 06 – BOOT, CHASSIS & DRAIN TUB