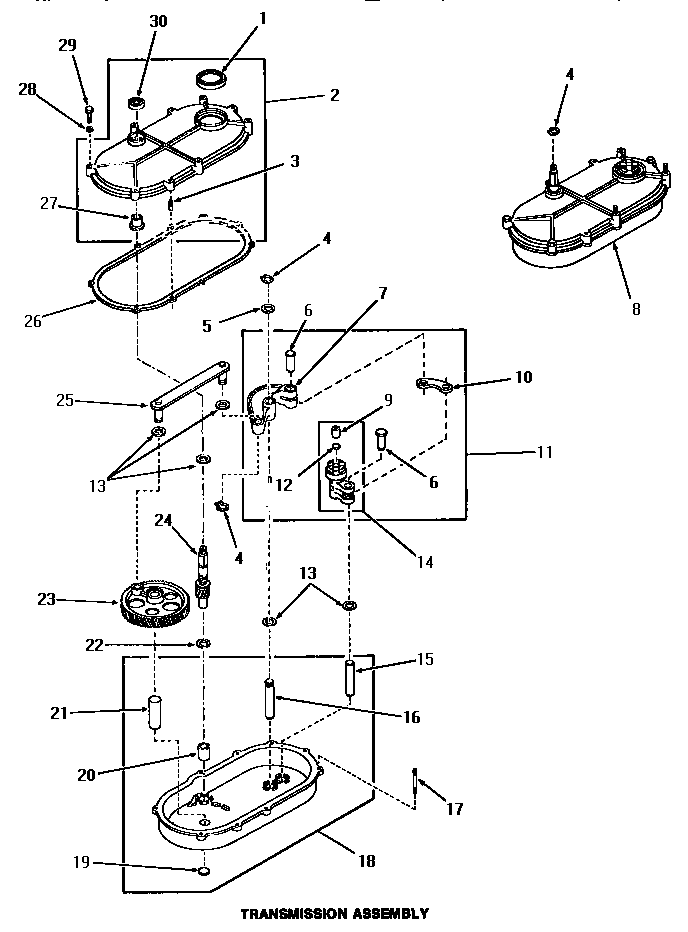
FA6022 22 – TRANSMISSION ASSYadmin2025-04-26T09:31:00+00:00FA6022 22 – TRANSMISSION ASSY ProductsPositionProductNIMAY 025281MAY 201992MAY 202163MAY 201974MAY 237515MAY 202126MAY 016907MAY 050058MAY 238289MAY 0171110MAY Y0499911MAY 2022012MAY Y0247913MAY 0179114MAY 2021915MAY 0168816MAY 2481717MAY 2015518MAY 2392719MAY Y0276920MAY 0199321MAY 0347722WASHER,.626IDX1.250ODX23MAY 0217524MAY 2364525MAY 0396926MAY 2005927MAY 2008228MAY 0318929MAY 2025730MAY 20200