| NI | Wiring diagram |
| NI | RIBBON PROTECTOR ELEC CNTRL |
| NI | WCI 5304414108 |
| NI | WCI 309602404 |
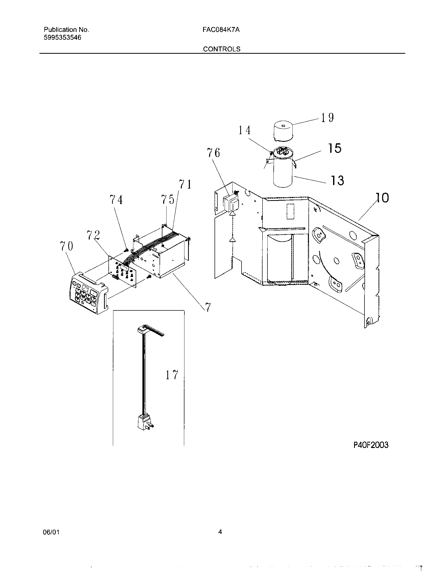
| 7 | Control Box |
| 12 | THERMISTOR HOLDER ASSY |
| 13 | WCI 5303318963 |
| 14 | 134178901 Frigidaire Screw |
| 15 | WCI 5303303086 |
| 17 | WCI 309343101 |
| 19 | WCI 5303302855 |
| 70 | Enclosure,elec control mt |
| 71 | PC Board,power ,w/temp sensor |
| 72 | WCI 309350402 |
| 74 | 3201861 Frigidaire Screw |
| 75 | PC BOARD-SUPPORT HARDWARE |
| 76 | WCI 309111601 |