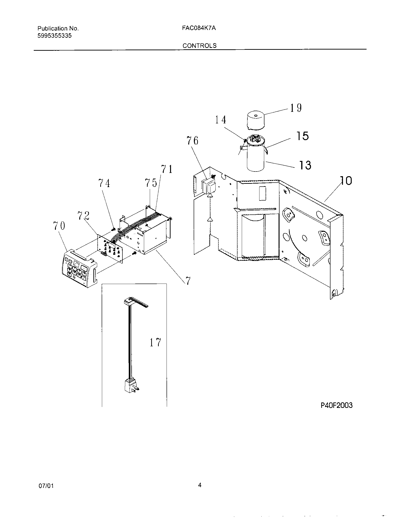
FAC084K7A3 05 – CONTROLS